
A Apple encontra-se a explorar novas formas de expandir a conectividade por satélite nos seus equipamentos móveis. Um recente pedido de patente revela o desenvolvimento de uma capa inteligente criada especificamente para melhorar a captação de sinal em zonas onde a cobertura da rede móvel é inexistente.
O documento, que foi submetido originalmente em 2024 e tornado público agora, detalha um acessório que será compatível tanto com o iPhone como com o iPad.
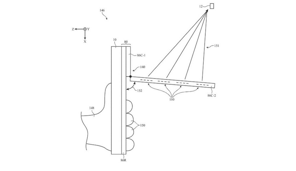
Design articulado para um sinal sem falhas
A possível nova capa protetora da empresa de Cupertino integra um conjunto avançado de antenas concebidas para otimizar a ligação via satélite. O destaque vai para um módulo articulado que se pode abrir para direcionar a matriz de antenas diretamente para o céu, o que garante um melhor alinhamento e estabilidade na transmissão.
Este design tem também o propósito de evitar a interferência comummente causada pelo contacto das mãos com o equipamento. Como a parte móvel abriga os componentes centrais responsáveis pela comunicação, o utilizador pode segurar o dispositivo de forma natural sem correr o risco de bloquear o sinal.
Equipado com uma matriz de antenas faseadas, este acessório teria a capacidade de comunicar com múltiplos satélites ao mesmo tempo. Na prática, isto traduz-se numa maior fiabilidade de transmissão, facilitando as comunicações em áreas remotas ou durante emergências. A transferência de dados sem fios com o telemóvel seria feita através de um conector de radiofrequência ou tecnologias como o NFC, mantendo a facilidade de colocação e remoção típica de uma capa convencional.

Uma ideia ainda no papel
Como é habitual na indústria tecnológica, o registo de uma patente representa sobretudo um conceito e a proteção de propriedade intelectual, não sendo uma confirmação absoluta de que o produto chegará às lojas. Muitas destas ideias acabam por não passar da fase de testes.
Ainda assim, este projeto deixa claro o interesse contínuo da marca em fortalecer a comunicação fora das redes terrestres tradicionais, conforme avançado pela GSMArena. Se a ideia evoluir para um produto final, poderá tornar-se num acessório essencial para quem viaja frequentemente para locais isolados ou para praticantes de atividades ao ar livre.












Nenhum comentário
Seja o primeiro!