
Apesar de muitos utilizadores ainda torcerem o nariz às funcionalidades de inteligência artificial no Windows, a Microsoft não parece disposta a abrandar. Uma nova patente registada no Escritório de Marcas e Patentes dos EUA (USPTO) revela planos para integrar o Copilot diretamente na área de transferência do sistema operativo.
Um assistente que lê o que copias
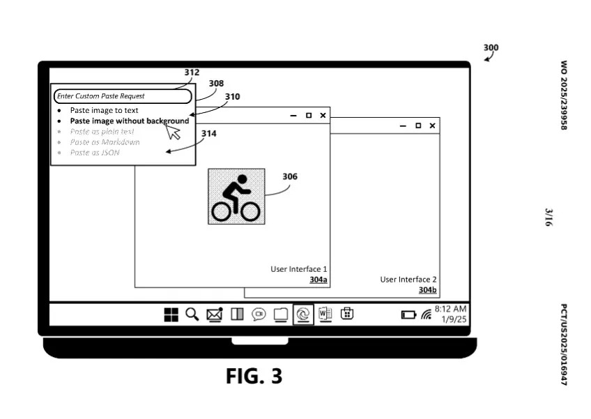
De acordo com o documento detalhado pelo Windows Central, esta funcionalidade permitirá que a IA analise e modifique textos ou ficheiros copiados de forma automática. A ideia assemelha-se ao que já encontramos no "Colar Avançado" do PowerToys, onde é possível transformar o conteúdo antes de o colar noutra aplicação através de uma API.

As possibilidades descritas na patente são vastas: o assistente poderá remover fundos de imagens, criar gráficos para apresentações, converter blocos de texto em tabelas ou até traduzir linguagens de programação. Tudo isto aconteceria de forma transparente, sem que o utilizador precise de abrir manualmente a aplicação dedicada do assistente para processar a informação.
Rapidez e análise inteligente de dados
Para que este sistema funcione, a tecnologia armazena temporariamente os dados copiados para perceber qual a melhor ação a tomar. Dependendo do que estiver na área de transferência, o sistema pode sugerir a conversão de múltiplos itens em simultâneo ou adaptar dados de tabelas para formato HTML, facilitando a publicação de artigos na web.
Embora o registo de uma patente não garanta que a funcionalidade chegue efetivamente a curto prazo a todos os computadores, demonstra claramente o caminho que a tecnológica pretende seguir para tornar a inteligência artificial mais orgânica. Por agora, os entusiastas que procurem algo semelhante podem explorar as ferramentas do PowerToys, mas a integração nativa promete elevar a produtividade no dia a dia.












Nenhum comentário
Seja o primeiro!