
A Samsung continua a investir na criação de um ecossistema de produtos cada vez mais integrado e, com a provável chegada dos seus óculos de realidade estendida, os Galaxy XR, surgem novas e futuristas formas de interação. Uma patente recentemente registada pela gigante sul-coreana sugere que poderemos estar prestes a controlar os nossos smartphones Galaxy usando apenas o olhar.
A documentação, submetida junto do CNIPA, o organismo chinês de propriedade intelectual, descreve um sistema de interação inovador entre uns óculos de realidade estendida e um smartphone, onde os controlos baseados no olhar ativam ou transferem ações entre os dispositivos.
Como funciona esta tecnologia?
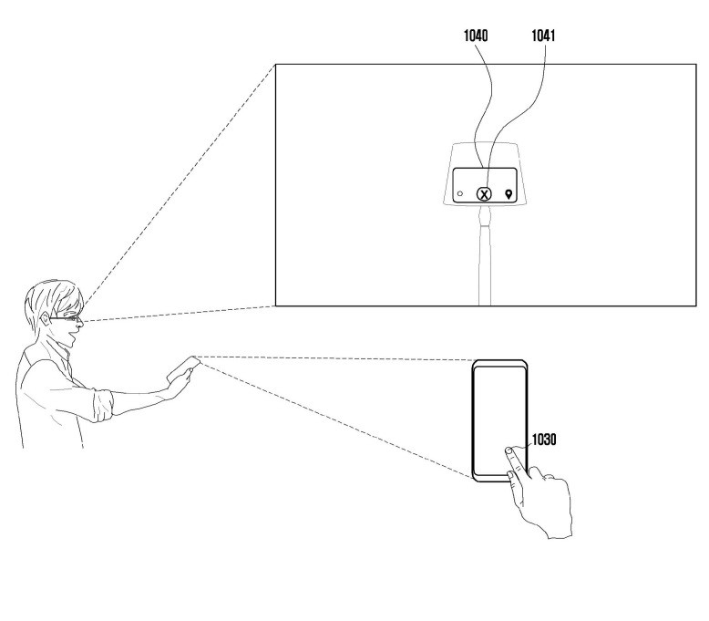
De acordo com a patente, os óculos estariam equipados com sensores integrados, um ecrã e câmaras capazes de rastrear o movimento da cabeça e dos olhos do utilizador. O sistema detetaria para que objeto ou área o utilizador está a focar e, ao confirmar o foco, iniciaria a comunicação com o smartphone para executar a tarefa desejada.

Basicamente, o utilizador poderia interagir com o telemóvel apenas com o olhar e gestos. Uma vez confirmada a ação, a interface dos óculos poderia enviar sinais ou sobreposições visuais, expandindo as funcionalidades do telefone de forma intuitiva.
Um ecossistema controlado pelo olhar
A funcionalidade promete uma interação natural e imediata entre dispositivos, permitindo a troca de tarefas em tempo real. Imagine começar uma ação no smartphone e continuá-la instantaneamente nos óculos XR, de uma forma semelhante ao que já acontece com outros produtos da Samsung, mas muito mais fluida e futurista.

Os documentos descrevem ainda o suporte para a sobreposição de objetos virtuais, o registo de dispositivos de IoT e um controlo adaptativo baseado na direção do olhar e nos gestos do utilizador. Se se tornasse realidade, esta tecnologia poderia ser um marco, unindo smartphones, wearables de realidade aumentada (AR) e estendida (XR) e dispositivos de casa inteligente numa única interface.
Como sempre, o registo de uma patente não garante que o produto chegue ao mercado. No entanto, indica a direção em que a empresa está a trabalhar. Com os rumores a apontarem o lançamento do headset Galaxy XR para dezembro, esta tecnologia baseada no olhar poderá ser um dos seus grandes trunfos, conforme detalhado pela Xpertpick.












Nenhum comentário
Seja o primeiro!